唯品会发布2025年第二季度财报蓝乔配资,第二季度实现净营收人民币258亿元,上年同期为269亿元;Non-GAAP净利润为21亿元。二季度商品交易总额(GMV)为514亿元,同比增长1.7%。
举报 第一财经广告合作,请点击这里此内容为第一财经原创,著作权归第一财经所有。未经第一财经书面授权,不得以任何方式加以使用,包括转载、摘编、复制或建立镜像。第一财经保留追究侵权者法律责任的权利。如需获得授权请联系第一财经版权部:banquan@yicai.com 相关阅读
2025年一季报营收榜:两家“中字头”公司新进千亿阵营2025年一季报营收榜:两家“中字头”公司新进千亿阵营
0 04-30 22:49
辉瑞公司一季度营收137.2亿美元蓝乔配资,同比下降8%辉瑞公司一季度营收137.2亿美元,同比下降8%
0 04-29 19:49
纳斯达克公司一季度净营收同比增长11%纳斯达克公司一季度净营收同比增长11%
0 04-24 19:24
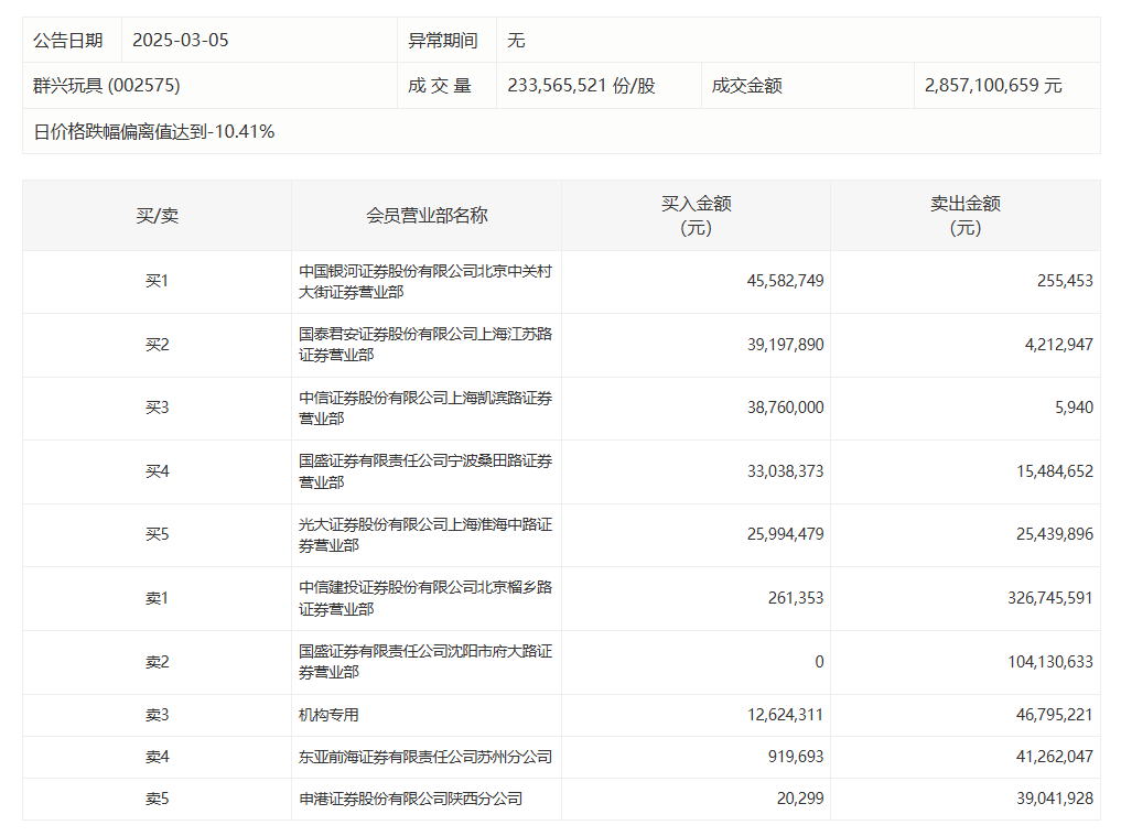
群兴玩具跌停,上榜席位净卖出4.07亿元群兴玩具跌停,上榜席位净卖出4.07亿元
0 03-05 16:45
智微智能今日涨停 三机构净卖出1.03亿元蓝乔配资智微智能今日涨停 三机构净卖出1.03亿元
0 03-05 16:28 一财最热 点击关闭方道配资提示:文章来自网络,不代表本站观点。